yabo鸭脖微2023年度专利——一种半导体器件框架

发布时间:2024-04-15 | 浏览量:800

技术领域

本实用新型涉及半导体器件技术领域,特别涉及一种半导体器件框架。

背景技术

半导体器件是导电性介于良导电体与绝缘体之间,利用半导体材料特殊电特性来完成特定功能的电子器件,可用来产生、控制、接收、变换、放大信号和进行能量转换,半导体器件的半导体材料是硅、锗或砷化镓,可用作整流器、振荡器、发光器、放大器、测光器等器材,为了与集成电路相区别,有时也称为分立器件,绝大部分二端器件(即晶体二极管)的基本结构是一个PN结。

而半导体全包封功率器件,在某些高压应用场景,要求塑封体四面需满足V高压绝缘测试;除底部引脚外,管体的前后左右均由树脂料包封,以保证其绝缘性能。

目前框架载芯板上由于未设置辅助固定结构,从而导致封装生产过程中,载芯板位置不稳定,易发生前后、左右的变形,造成变形位置的树脂料厚度不足,从而影响绝缘性能,使得产品无法满足V绝缘测试的要求。

实用新型内容

基于此,本实用新型的目的是提供一种半导体器件框架,旨在解决此问题。

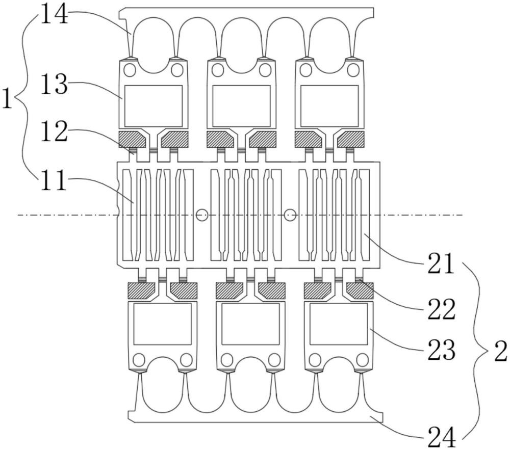
通过塑封胶包封,半导体器件框架包括上框总成以及设置在上框总成底部的下框总成,上框总成包括与下框总成连接的第一外引脚、设置在第一外引脚上远离下框总成一侧的多根第一引线、与多根第一引线上远离第一外引脚一侧连接的第一载芯板以及第一载芯板上远离第一引线一侧向外延伸出的上连筋,其中,上框总成与下框总成相同且呈相对设置。

通过在第一载芯板及第二载芯板上分别加设上连筋及下连筋,能够确保相邻的两块第一载芯板以及相邻的两块第二载芯板之间的间距相同以及提高结构稳定,从而侧面提高了分别与第一载芯板连接的第一引线和第一外引脚以及分别与第二载芯板连接的第二引线和第二外引脚之间的结构稳定,避免上述结构受第一载芯板或第二载芯板形变影响造成跟随形变的情况,解决了目前框架载芯板上由于未设置辅助固定结构,从而导致载芯板处在封装生产过程中存在不稳定性,以使载芯板易发生前后、左右的变形,造成变形位置的树脂料厚度不足,从而影响产品的绝缘性能,使得产品无法满足V绝缘测试的要求的问题。

另外,还可以具有如下的附加技术特征:

下框总成包括与第一外引脚固定连接的第二外引脚、第二外引脚上远离第一外引脚一侧设置的多根第二引线、设置在多根第二引线上远离第二外引脚一侧的第二载芯板以及第二载芯板上远离第二引线一侧向外延伸出的下连筋。

第一载芯板中部空置有容置芯片的载芯槽。

第一载芯板上靠近上连筋一侧开设有两锁胶孔。

第一载芯板上靠近第一引线一侧设置有两焊脚。

第一引线和第二引线均设置有三根。

上连筋包括与第一载芯板连接的多根连接部以及将多根连接部串连的固定部。

连接部在第一载芯板上共设置有两根。

主要元件符号说明:

上框总成

1

下框总成

2

塑封胶

3

第一外引脚

11

第二外引脚

21



第一引线

12

第二引线

22



第一载芯板

13

第二载芯板

23



载芯槽

131

下连筋

24



焊脚

132





锁胶孔

133





上连筋

14





连接部

141





固定部

142





 







相关新闻